Tesla разработва лазерни чистачки, които да махат умрели насекоми от предното стъкло
Ако мислехте, че Cybertruck е върхът, то вижте тази технология, която разкри Electrek. Tesla работи върху лазерни чистачки, които автоматично да почистват предното стъкло от умрели насекоми и всякакви други остатъци.
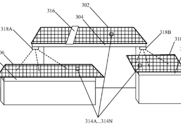
Компанията смята да прилага “нещото” не само в колите си, но и върху фотоволтаични централи, където почистването играе съществена роля.
Tesla вече е патентовала система, наречена “Импулсно лазерно почистване на остатъци върху стъклени повърхности в превозни средства и фотоволтаични централи”.
Всъщност не си представяйте, че нормалните чистачки ще бъдат заменени от новата система. По-скоро ролята на това чудо ще бъде да се грижи пред камерите на автопилота да няма умрели мухи, за да може автономната ви Tesla да стигне целта си безпрепятствено.
Не е ясно кога системата ще е готова за серийно вграждане, но робокоп колите определено наближават...

